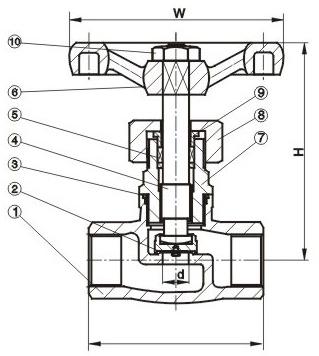
J11W不锈钢丝扣截止阀的启闭件是塞形的阀瓣,密封上面呈平面或锥面,阀瓣沿阀座的中心线作直线运动;J11W不锈钢丝扣截止阀阀杆开启或关闭行程相对较短,并具有非??煽康那卸隙?,使得它适合作为介质的切断或调节及节流使用。
①结构简单,制造和维修比较方便;
|
-
配件采用不锈钢304材质不易生锈
-
工作行程小,启闭时间短
-
结构简单,制造和维修比较方便
-
密封性好,密封面间磨擦力小,使用较长。
-
体积小、轻便、性能可靠、配套简单、流通能力大等优点。
-
根据用户提供的流量、压力提供选型规格书及控制方案图。


